您好,欢迎来到品标网!
×

品标商标转让平台欢迎您!

快速查询商标价格
全网最大商标交易平台!
全网最大商标交易平台!

您当前的位置:首页 > 新闻资讯 > 行业新闻

百度申请多个“Comate智能编码助手”商标

2023-06-27 16:36:51

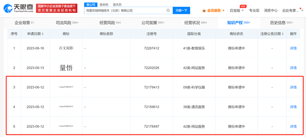
天眼查App显示,6月12日,百度在线网络技术(北京)有限公司申请多个“Comate智能编码助手”商标,国际分类涉及科学仪器、通讯服务、网站服务,当前商标状态均为申请中。


品标推荐

  • F
  • 小猪唐唐
  • 鸟图形
  • ×

    快速帮您找到合适的商标

    大平台保障,交易更放心
    确认提交
    +

    购买指定商标

    全渠道一手资源,价格更低!

    获取最低报价

    信息保护中,请放心填写

    90%的用户选择扫码加好友慢慢聊,聊得不开心,可随时删我
    填写您的联系方式,卖家与您电话联系
    +
    让卖家联系我
    联系手机
    联系人
    验证码
    提 交