您好,欢迎来到品标网!
×

品标商标转让平台欢迎您!

快速查询商标价格
全网最大商标交易平台!
全网最大商标交易平台!

您当前的位置:首页 > 新闻资讯 > 行业新闻

宁德时代申请注册商标“相对论”

2023-01-30 11:16:52

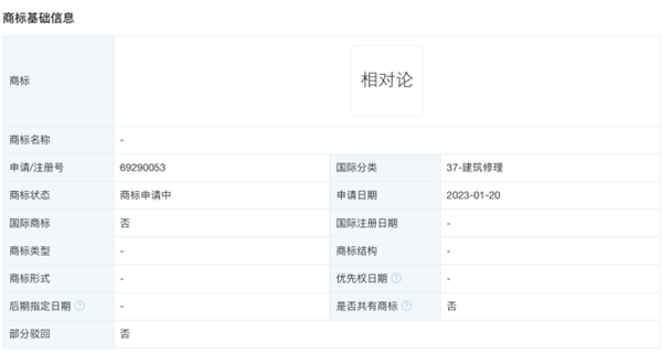
天眼查APP显示,近日,宁德时代申请注册商标“相对论”,国际分类为建筑修理、广告销售,当前商标状态为注册申请中。

宁德时代申请注册商标“相对论”

品标推荐

  • F
  • 运动图形
  • 茶全茶美
  • ×

    快速帮您找到合适的商标

    大平台保障,交易更放心
    确认提交
    +

    购买指定商标

    全渠道一手资源,价格更低!

    获取最低报价

    信息保护中,请放心填写

    90%的用户选择扫码加好友慢慢聊,聊得不开心,可随时删我
    填写您的联系方式,卖家与您电话联系
    +
    让卖家联系我
    联系手机
    联系人
    验证码
    提 交