您好,欢迎来到品标网!
×

品标商标转让平台欢迎您!

快速查询商标价格
全网最大商标交易平台!
全网最大商标交易平台!

您当前的位置:首页 > 新闻资讯 > 行业新闻

时代峰峻多个“时代少年团”商标注册申请被驳回

2022-08-30 16:35:28

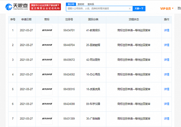
天眼查App显示,近日,北京时代峰峻文化艺术发展有限公司重庆分公司申请注册的多个“时代少年团”商标状态变更为等待驳回复审,相关商标申请于2021年5月,国际分类涉及通讯服务、科学仪器、服装鞋帽等。值得一提的是,乐娱星映娱乐有限公司于2021年1月申请的教育娱乐类“时代少年团”商标状态已完成注册。

时代峰峻多个“时代少年团”商标被驳回

品标推荐

  • F
  • 运动图形
  • 茶全茶美
  • ×

    快速帮您找到合适的商标

    大平台保障,交易更放心
    确认提交
    +

    购买指定商标

    全渠道一手资源,价格更低!

    获取最低报价

    信息保护中,请放心填写

    90%的用户选择扫码加好友慢慢聊,聊得不开心,可随时删我
    填写您的联系方式,卖家与您电话联系
    +
    让卖家联系我
    联系手机
    联系人
    验证码
    提 交