您好,欢迎来到品标网!
×

品标商标转让平台欢迎您!

快速查询商标价格
全网最大商标交易平台!
全网最大商标交易平台!

您当前的位置:首页 > 新闻资讯 > 行业新闻

学而思教育申请多个“严选”相关商标

2022-07-28 16:42:14

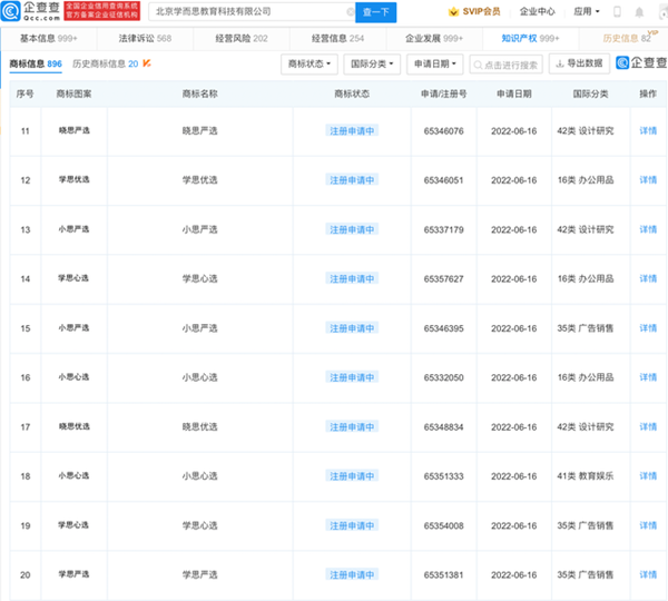
企查查APP显示,近期,北京学而思教育科技有限公司新增多个“学思心选”“晓思严选”“学思优选”“小思心选”商标申请信息,国际分类包括广告销售、教育娱乐、办公用品等,当前商标状态均为“注册申请中”。

学而思教育申请多个“严选”相关商标

品标推荐

  • F
  • 运动图形
  • 茶全茶美
  • ×

    快速帮您找到合适的商标

    大平台保障,交易更放心
    确认提交
    +

    购买指定商标

    全渠道一手资源,价格更低!

    获取最低报价

    信息保护中,请放心填写

    90%的用户选择扫码加好友慢慢聊,聊得不开心,可随时删我
    填写您的联系方式,卖家与您电话联系
    +
    让卖家联系我
    联系手机
    联系人
    验证码
    提 交