中国广电提交5G相关的12项商标注册申请信息
2022-04-08 16:49:56
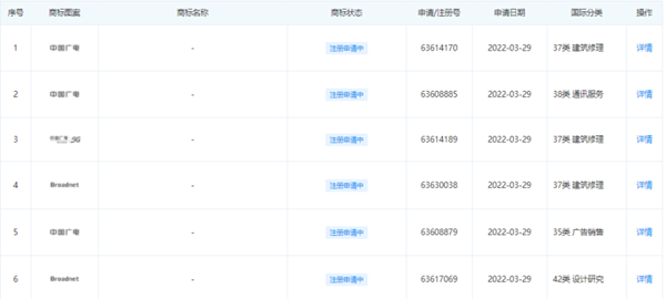
小编注意到中国广电集团公司于3月29日报送12项商标注册申请信息。其中包含了一项简体中文商标“中国广电”、一项英文商标“Broadnet”、一项组合图文商标。12项商标信息涉及的具体类别共计6大类,分别为建筑修理、通讯服务、广告销售、设计研究、科学仪器、教育娱乐。
值得注意的是,本次中国广电集团公司提交申请的组合图文商标,其是由中文“中国广电”、英文“Broadnet”与艺术化的“5G”字形等构成的(仔细看5字上边的圆点,有何寓意,我们静待官方解读,哈哈)
- 下一篇: 罗永浩“老罗和他的朋友们”商标成功注册
- 上一篇: 河南“潢川州姜”获批为中国地理标志证明商标




