朱一龙新片《人生大事》还未播出就遭商标抢注!
2022-03-15 17:08:01
刘江江导演,朱一龙主演的电影《人生大事》定于清明节上映。电影《人生大事》讲述了朱一龙饰演的殡仪员莫三妹在刚出狱的一次出殡时,遇见了杨恩又饰演的孤儿吴晓雯,从而改变了对生活的态度故事。 3月10日,由二手玫瑰乐队演唱的电影宣传曲《上天堂》正式发布,歌曲的抒情氛围与电影的葬礼主题相得益彰,引起网友关注。
但在电影上映前,心怀不轨的人早就打起了商标的主意。
企查查APP数据显示,与“人生大事”商标相近的商标有190个,其中不少是在电影上映前注册的,并没有存在抢注的嫌疑。然而,有两个品牌引起了人们的注意。两个商标的申请人均为通辽市殡葬礼仪服务有限公司,商标申请日分别为2021年12月14日和29日。
可以看出,该通辽的殡葬公司成立于2020年8月,注册地在内蒙古通辽市,经营范围包括:殡葬礼仪服务、骨灰盒、鲜花、面纱、殡葬用品、工艺品销售、礼仪培训、心理咨询服务、殡葬用品的加工和销售。
公司商标申请仅有3个商标,而除了上述2个“人生大事”商标外,去年12月14日,他们还申请了“去天堂”商标。如果《人生大事》在电影上映前申请了商标是巧合,那么将影片的宣传曲“上天堂”也申请商标,很难不会认为是其蹭热度。
《人生大事》 是一部尚未播出,但名称已被抢注的电影,制片方是否保护知识产权?
如果您查询该片《人生大事》的出品方联瑞影业的公司信息,可以发现联瑞影业有限公司也为该片进行了知识产权保护,包括剧本版权保护、商标布局等。
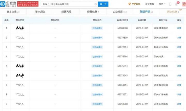
资料显示,联瑞影业于2021年5月为剧本《人生大事》注册了版权。此外,联瑞影业还申请了九个电影相关图形商标:“Life Events”和“Light Up the Stars”艺术设计的字体图案,国际分类包括办公用品16类、皮具类18类、皮具类20类。这是可能的。第21 类电器、第25 类服装、鞋帽、第26 类配饰和胶带、第28 类健身器材、第35 类广告销售以及所有九个图形商标类别均已于2022 年3 月7 日提交。此外,联瑞影业尚未提交与另一部电影《人生大事》相关的文字商标注册的申请,申请的商标并未在所有类别中受到保护。
例如,热播影视剧《人世间》、电影《长津湖》、《奇迹笨小孩》等影视作品名称被别人先注册为商标的情况并不少见。那么影视作品应该如何维权呢?
首先,像电影《人生大事》一样,剧本创作完成后,及时注册作品的版权,是保护知识产权最有效的方式,也很重要。如果一旦发生侵权行为,企业可以及时使用法律武器进行反击,从而有效保护知识产权免遭侵权。
- 下一篇: 超威申请注册多个元宇宙相关商标
- 上一篇: 飞雳士轮胎破产清算,商标被低价拍卖




