咪咕文化申请注册多个“濛翔”相关商标
2022-03-05 17:04:49
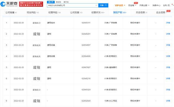
天眼查App显示,近日,中国移动旗下咪咕文化科技有限公司申请注册多个“濛翔组合”“濛翔”“濛翔成真”商标,国际分类涉及广告销售、教育娱乐、健身器材等,当前商标状态均为申请中。
据悉,北京冬奥会期间,王濛、黄健翔在咪咕解说时组成“濛翔组合”,受到网友喜爱。王濛看到谷爱凌系列手办后喊话“咪咕,给我们也整一个”,后咪咕经两人授权推出“濛翔”手办礼盒,网友纷纷表示“濛翔成真”。
- 下一篇: 腾讯“微粒贷”商标被侵权,一审判决获赔30万元
- 上一篇: 三星在英提交新的商标申请用于手机翻盖皮套




