腾讯申请二四的拔商标 网友:这不就是乘法口诀?
2021-08-31 10:03:25
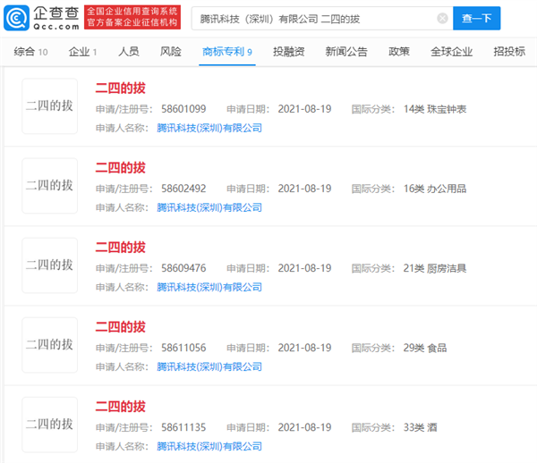
企查查APP显示,8月19日,腾讯科技(深圳)有限公司一口气申请了多个“二四的拔”注册商标,网友猜测或为乘法口诀“二四得八”谐音。
该商标国际分类涉珠宝钟表、办公用品、厨房洁具、服装鞋帽、食品、酒等,目前商标状态为注册申请中。
腾讯注册“二四的拔”商标,目前还不知将用于何处,甚至会不会被批准,批准了会不会使用都很难说。
根据《中华人民共和国商标法》规定,“有害于社会主义道德风尚或者有其他不良影响”的标志不得作为商标使用。
审查判断有关标志是否构成具有其他不良影响的情形时,应当考虑该标志或者其构成要素是否可能对我国政治、经济、文化、宗教、民族等社会公共利益和公共秩序产生消极、负面影响。
此前有公司注册“津津友味”商标被判无效,商评委给出的理由是“津津友味”是对成语“津津有味”的不规范使用,容易混淆人们特别是中小学生对成语中特定字词的认识,易产生不良的社会影响,违反了《商标法》规定。
但这个规定笼统,所以也有人注册成功,例如“衣衣不舍”、“一一不舍”、“菁科状元”等等。
腾讯能拿下“二四的拔”吗?想必问题不大,毕竟99.9%以上的人不会把它和“二四得八”搞混。
- 下一篇: 华为又有新动作,申请“R”字心形商标
- 上一篇: 雷军申请“小米汽车”商标被驳回




