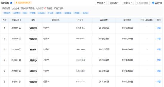
何同学成立工作室 已申请注册多个何同学商标
2021-07-27 09:32:44
7 月 26 日下午消息,企业认证蓝 V 账号 @何同学工作室 进驻新浪微博。根据微博认证信息来看,该账号隶属于杭州何同学文化传媒有限公司,新浪微博企业认证审核时间为 2021 年 7 月 21 日。
据天眼查 App 显示,该公司成立于 2020 年 12 月 15 日,法定代表人何世杰,注册资本 5 万元人民币,经营范围包括广播电视节目制作经营;电子出版物制作;音像制品制作;演出经纪;网络文化经营;电影发行;信息网络传播视听节目等。
何世杰 ,何同学文化传媒创始人。B 站认证信息为“ bilibili 2019 百大 UP 主、2019 年度最佳作品奖 UP 主” ,微博认证信息为“知名数码博主”。2019 年 6 月 6 日,何同学以一条关于 "5G 到底有多快”的投稿收获全网关注。
- 下一篇: 小米申请“雷军超大杯”、“XL CUP”等商标
- 上一篇: “南阳艾”获批国家地理标志证明商标




